New Product Announcement - SKY535xx
Feb. 11, 2026
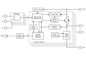
Skyworks announced a significant expansion of its SKY535xx family of clock fanout buffers with nine new devices that extend the family’s capabilities across a wider range of data center, wireless network, and PCIe Gen 7 applications.
Read more