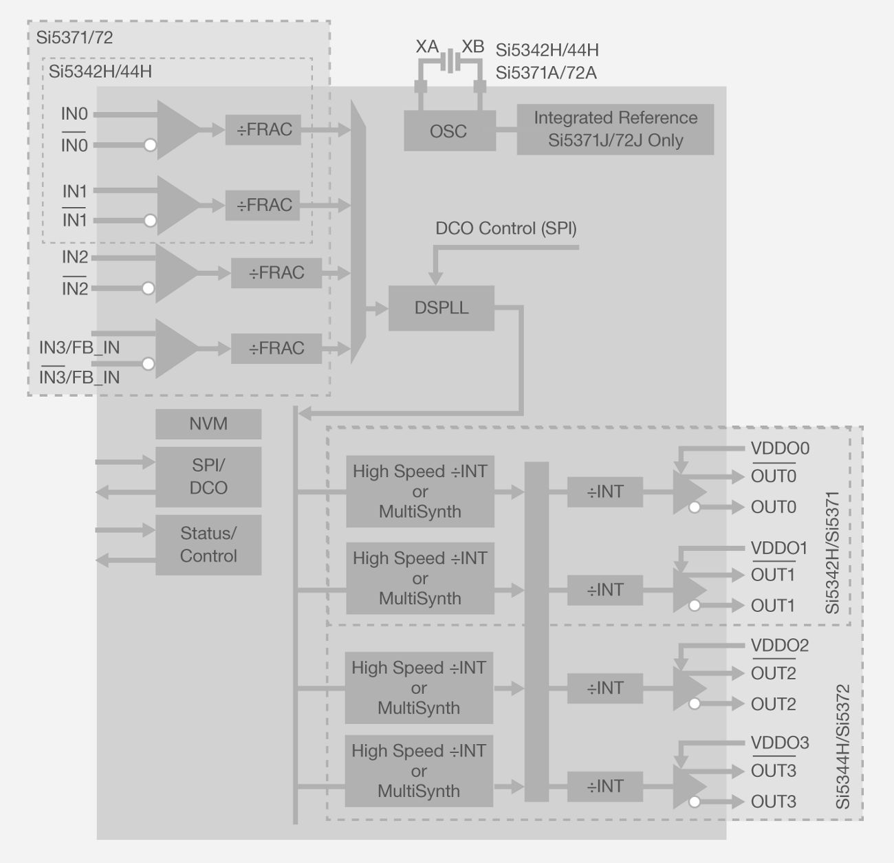
Si5342H/5344H Revision D optical clocks address the needs of coherent optical communications applications. Each low jitter output can be configured as a high speed output (up to 2.75 GHz) or a general clock output (up to 717.5 MHz). The coherent optical clocks leverage 3rd generation DSPLL® technology to clean recovered clocks, DCO mode for coherent DSP control via a fast SPI interface and integrated MultiSynth fractional synthesis to support eye-diagram monitors, FEC and MUX/DEMUX clock requirements. Such single-chip integration enables the stringent performance, form-factor and power requirements demanded in 100G/200G/400G line cards and modules.